法治是优化营商环境的核心基石,更是护航市场主体行稳致远的关键支撑。近年来,区司法局锚定企业发展需求,以精准法律服务破解经营难题,以规范执法监管筑牢发展保障,通过一系列务实举措织密法治护航网络,为我区经济高质量发展注入强劲法治动能,让企业在法治阳光下安心经营、放心投资、全心发展。
“这种‘上门服务’帮我们提前规避了潜在法律纠纷,太实用了!” 甘肃皓天医药科技有限公司负责人对区司法局的“法治体检”服务赞不绝口。针对企业经营中的法律风险隐患,区司法局组织专业律师团队深入企业一线,通过查阅合同、座谈交流等方式,对知识产权保护、劳动合同签订等关键环节进行“全方位扫描”,当场列出“法律风险清单”并提供针对性解决方案。
为精准对接企业诉求,白银区司法局还组织召开规范涉企行政执法意见征集座谈会,邀请企业代表填写《涉企行政执法问题线索及意见建议征集谈话表》,直接听取企业对执法工作的意见建议。组建由律师、公证员、法律顾问组成的专业服务团,深入个体工商户、园区、企业开展“法律三进”活动,重点排查知识产权、劳动用工等风险点,针对企业劳务纠纷频发的困扰,律师团队量身定制解决方案,建议其完善用工合同模板并建立内部调解机制,有效降低了企业诉讼风险。
在做好精准体检的同时,白银区司法局持续拓宽法律服务渠道,为企业纠纷化解开辟“快车道”。在银西工业园区,法律服务工作站与调解联络点的设立,让企业纠纷化解有了“就近窗口”,针对园区企业集中、纠纷频发的特点,区司法局打通服务壁垒,建立涉企纠纷绿色通道,实行“当日受理、当日启动调解”机制,最大限度缩短纠纷处置周期。
为进一步降低企业维权成本,区司法局推出“商事调解+公证或司法确认”服务模式,推动调解协议与公证赋强效力有机衔接,为企业纠纷化解提供高效路径。以柔性调解化解商事纠纷,同步衔接公证赋强与司法确认程序,赋予调解协议强制执行力。减少企业时间与经济投入,实现纠纷高效化解、解决取证难题,大幅缩短维权周期、降低维权成本,为辖区企业发展筑牢法治后盾。
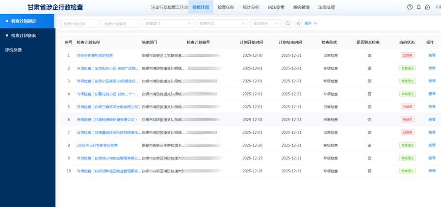
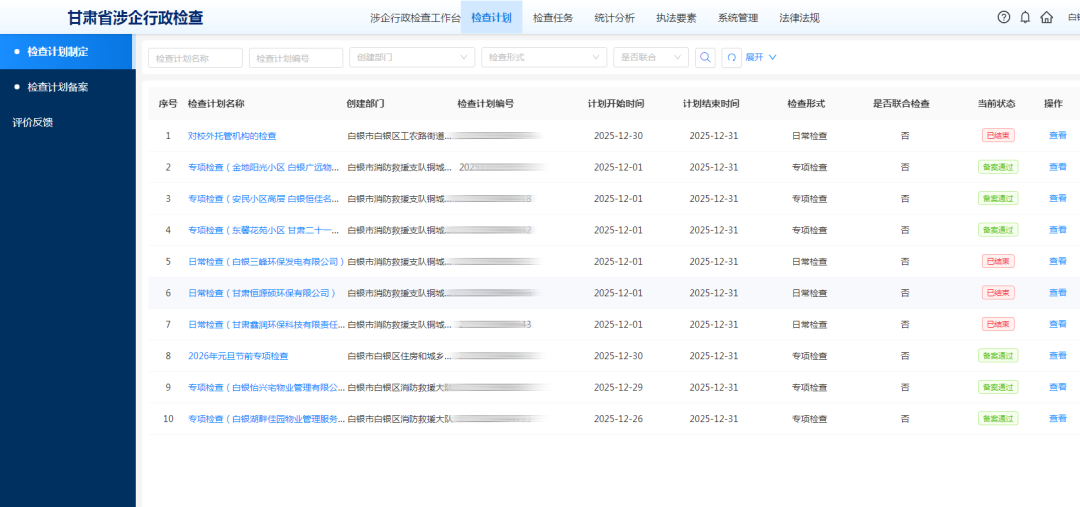
“扫码就能完成检查备案,还能实时评价执法服务,这种监管模式既规范又透明。”在规范执法监管方面,区司法局以智慧赋能实现全程闭环监督,杜绝“任性扰企”检查。
2025年10月,白银区全面上线“陇上e企查”涉企行政检查系统,推行“扫码入企”监管模式,构建“事前备案、扫码核验、企业评价”全流程闭环管理体系。执法人员入企检查前,需通过系统提交检查计划、检查任务、执法人员信息、检查事项等内容完成备案;入企时,出示二维码供企业扫码核验,确保检查合规;检查结束后,企业可通过系统对执法行为进行评价,有效规范执法流程、提升服务质效。截至目前,白银区已在系统建立检查计划136条。健全“双随机、一公开”监管机制,抽查事项覆盖率提高到80%以上,“一业一查”综合监管任务占比达60%以上,切实做到“无事不扰、有事速办”。
张莉
区司法局副局长
优化法治化营商环境没有终点,只有连续不断的新起点。我们将始终坚持问题导向、需求导向,聚焦企业急难愁盼,持续深化法律服务创新、强化执法监管规范,加强模式宣传推广与法治培训,以更精准、更高效、更暖心的法治服务,为企业发展清障护航,让法治成为白银区营商环境最鲜明的底色。
扫一扫在手机打开当前页


